인천시가 전국 최초로 '맨홀 위치 알림 부표 장치' 특허를 받았다. 시 상수도사업본부는 집중 호우 등으로 맨홀 뚜껑이 이탈된 침수지역을 걷는 보행자들에게 맨홀 위치를 알려주는 장치를 최근 특허 등록했다고 8일 밝혔다.
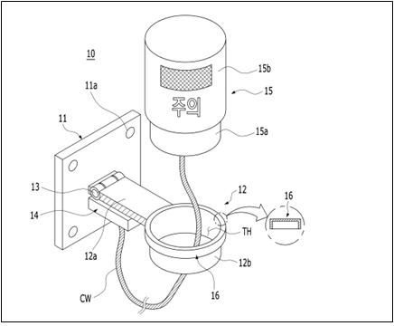
이번 특허는 기후변화 등에 따른 국지성 집중 호우와 태풍의 영향으로 저지대 맨홀 뚜껑이 이탈할 경우, 맨홀 내부에서 부표가 떠올라 물에 잠긴 도로를 걷는 보행자에게 추락위험을 경고해 사고를 미리 예방할 수 있도록 한 것이 특징이다.
맨홀 위치 알림 부표 장치는 지난해 7월 말 수도권 폭우 사태 때 발생한 맨홀 추락사고 재발을 방지하기 위해 인천시와 시 상수도본부 업무 담당자 5명이 공동으로 고안해 공무원 직무발명을 제출했다.
시는 '인천시 지식재산의 진흥에 관한 조례'에 따라 지식재산위원회 심의를 거쳐 특허권을 승계받아 지난해 12월 특허를 출원했다. 이어 인천시(관리부서:상수도사업본부)를 특허권자로 지난 6월 등록을 완료했다.
지금 뜨는 뉴스
인천시 상수도사업본부 관계자는 "특허를 받은 장치는 시민의 안전과 관련된 것으로 시제품 개발 등 현장 적용이 이어지도록 하겠다"고 밝혔다.
박혜숙 기자 hsp0664@asiae.co.kr
<ⓒ투자가를 위한 경제콘텐츠 플랫폼, 아시아경제(www.asiae.co.kr) 무단전재 배포금지>


