삼성, 눈동자로 통제하는 드론 특허 출원

삼성전자 특허(사진=USPTO)

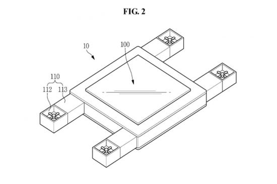
삼성전자 특허(사진=USPTO)

[아시아경제 임온유 기자] 눈동자나 얼굴의 움직임만으로 드론을 통제할 수 있는 시대가 도래할 전망이다. 19일(현지시간) 미국 IT전문매체 더버지 등 외신에 따르면 삼성전자는 최근 사용자의 얼굴과 눈동자를 인지하고 추적하는 디스플레이 내장형 드론 특허를 공개했다.현재 취미용 드론은 컨트롤러로 조정되는 것이 일반적이고 DJI의 매빅 시리즈 등 일부 제품의 경우 손동작으로 간단한 제어를 할 수 있는 수준이다. 양손을 뻗어 손바닥을 드론에 인식시키고 벌리면 멀어지고 좁히면 가까워지는 식이다.삼성전자 특허 속 드론은 상황에 따라 방향을 바꾸는 디스플레이와 카메라, 수집한 정보를 주조정장치에 전송할 수 있는 관찰시스템 등을 탑재한다. 사용자의 눈, 머리, 손, 손가락을 실시간으로 따라가는데 이는 드론의 비행 속도와 방향이 간편하게 조정될 수 있음을 의미한다. 또한 장애물 인지 능력을 갖춰 비행 시 구조물을 발견하면 디스플레이 각도가 자동변경되는 기능도 갖췄다.삼성전자의 특허가 상용화된다면 드론의 편의성과 효율성이 크게 올라갈 수 있다. 조정장치를 휴대해야 하는 번거로움이 사라지고 쉽고 자연스러운 영상 촬영도 가능해진다. 더 버지는 "거리를 따라 걷는데 드론이 당신의 얼굴을 발견하고 당신을 쫓아가는 것을 상상해 보십시오. 엄청난 미래다"라고 평했다.다만 해당 특허는 특허일 뿐 삼성전자가 이를 활용한 제품을 양산한다고 단언할 수는 없다. 이 특허의 신청서는 2016년 1월3일에 미국 특허청(USPTO)에 제출됐으며 지난 13일 공개됐다. 삼성전자는 드론 관련한 기술·디자인 특허를 출원해왔으나 공식적으로 제품을 출시한 적은 없다.한편 최근 들어 드론 사업에 흥미를 갖는 글로벌 업체들이 늘어나고 있다. 아마존의 경우 비상 시에 자가 폭발이 가능한 드론 특허를 출원한 바 있다.임온유 기자 ioy@asiae.co.kr<ⓒ세계를 보는 창 경제를 보는 눈, 아시아경제(www.asiae.co.kr) 무단전재 배포금지>

IT부 임온유 기자 ioy@asiae.co.krⓒ 경제를 보는 눈, 세계를 보는 창 아시아경제
무단전재, 복사, 배포 등을 금지합니다.

오늘의 주요 뉴스

헤드라인

많이 본 뉴스