세계지듀얼 폴더블 폰 특허 출시
인폴딩·아웃폴딩, 2개의 힌지 적용
[아시아경제 한진주 기자] 삼성전자가 두번 접는 폴더블 디스플레이 관련 특허를 출원했다. 갤럭시Z 시리즈의 이름처럼 두번 접히는 폴더블 스마트폰이 출시될 지도 관심이 모인다.
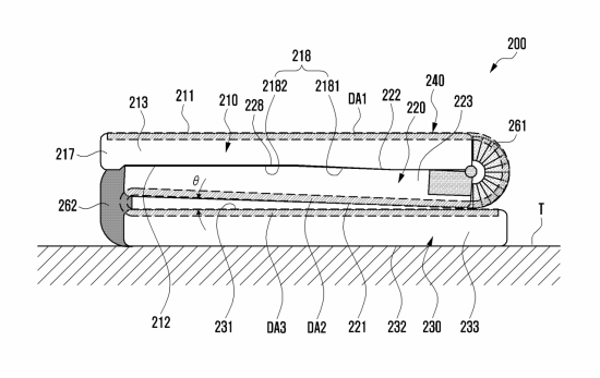
20일(현지시간) 삼성전자가 세계지식재산권기구(WIPO)에 Z자 형태로 두번 접는 '멀티 폴더블 전자 기기' 특허를 출원했다.
지금 출시된 폴더블 디스플레이가 안쪽으로 접히는 방식이라면 삼성이 낸 특허에서는 안팎으로 모두 접히는 형태다. 접히는 폴더블 디스플레이를 지지하는 두 개의 힌지를 필요로 한다.
Z시리즈라는 네이밍처럼 Z자로 접히는 폴더블 폰을 실제로 개발하고 있을 지는 현 시점에서 확인하기 어렵다. 이번에 출원한 특허는 휴대성을 높이기 위해 구조를 변경해 접힌 두께를 줄였다. 앞서 삼성전자는 지난해 8월 Z자 형태로 화면을 접을 수 있는 기술에 대한 특허를 출원한 바 있다.
Z자로 접을 때 디스플레이의 3분의 1 가량은 밖으로 접히기 때문에 손상되기 쉽다는 점은 단점으로 꼽힌다. 삼성전자가 출원한 특허에서는 이같은 단점을 완화할 수 있는 기술이나 디자인에 대한 내용은 상세히 설명되지 않았다.
삼성전자가 두번 접는 폴더블 스마트폰을 실제로 개발했거나 출시할 것이라고 단정하기는 이르다. 갤럭시Z플립이나 Z폴드2 이후 새로운 폼팩터를 고려하는 과정에서 고안된 하나의 아이디어에 그칠 수 있고, 프로토타입이 공개된 상황도 아니어서다. 폴더블 스마트폰 시장이 커지고 디스플레이 내구성 등이 개선된다면 실제 출시로 이어질 수도 있다.
지난 2월 언팩 직후 열린 기자간담회에서 노태문 삼성전자 무선사업부장(사장)은 "갤럭시Z 플립은 2~3년의 개발 과정과 시행착오를 거쳤고, 여러 폴더블 폰을 지속적으로 연구 개발 중"이라며 "(두 번 이상 접는 등) 여러 가지 형태를 시도할 수 있지만 소비자에게 어떤 가치를 주고 편하게 가지고 다닐 수 있는지가 첫번째 판단 기준"이라고 말했다.
지금 뜨는 뉴스
IT전문매체 샘모바일은 "삼성이 기존 갤럭시Z플립 디자인을 유지하면서 새로운 Z자형 폴더블을 출시할 가능성이 있다"며 "하나의 폼팩터로 통합시키기보다는 여러 폼팩터를 다양하게 만드려는 것으로 보인다"고 설명했다.
한진주 기자 truepearl@asiae.co.kr
<ⓒ투자가를 위한 경제콘텐츠 플랫폼, 아시아경제(www.asiae.co.kr) 무단전재 배포금지>



