시간과 비용 절감 위해 공중에서 물건 떨어뜨려
낙하산 부착해 제품 손상 없이 배송
英에서는 13분만에 팝콘 배송 성공
[아시아경제 안하늘 기자] 드론 배송을 준비하고 있는 아마존이 또 한 번 기발한 아이디어를 생각해냈다. 시간과 비용을 절감하기 위해 공중에서 택배 상자를 떨어뜨리는 것이다. 제품 손상이나 사람이 다칠 수 있다는 우려는 '낙하산'으로 해결한다는 방침이다.
14일(현지시간) CNN은 아마존이 최근 미국 특허청(USPTO)에 등록한 드론 배송 관련 특허를 소개했다.
아마존은 지난 3년간 '프라임 에어'(Prime Air)라는 이름의 드론 배송 프로그램을 추진해왔다. 고객이 주문한 제품을 30분 안에 전달하는 게 이 프로그램의 목표다. 아마존은 어떻게 하면 가장 안전하게 제품을 드론으로 배송할 수 있는지에 대해 연구하고 있다며 데모 비디오를 공개한 바 있다.
아마존은 드론이 지상에 착륙해 제품을 배송하는 방법이 비행 중 목표 지점에 제품을 떨어뜨리는 것보다 더 많은 시간과 비용이 걸린다고 판단했다. 하지만 공중에서 제품을 떨어뜨리는 방법은 안전성에서 문제가 된다. 제품이 손상될 수 있고 사람이 다칠 수도 있다.
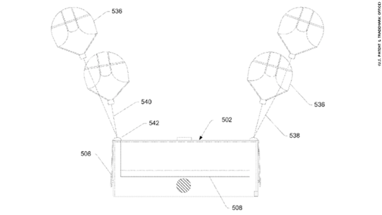
특허를 보면 아마존은 드론에 자석, 낙하산, 스프링 코일이 탑재된다고 설명했다. 비행 중 드론은 제품을 떨어뜨려도 될만한 장소를 스스로 찾는다. 이후 아마존 드론은 제품에 부착된 낙하산을 펴도록 한 뒤 제품을 떨어뜨린다. 낙하산에 의해 낙하 속도가 줄면서 택배는 안전하게 고객에 전달된다.
하지만 현행법에서는 이 같은 아마존의 드론 배송이 현실화되기 어렵다. 미국 교통부 산하 연방항공청(FAA)은 그간 보안 문제와 안전상의 우려를 이유로 드론 배송에 부정적인 입장을 보였다.
FAA는 지난해 8월 상업용 드론의 운행 규정을 확정했다. 조종사들이 드론을 직접 볼 수 있게 시야선(visual line of sight)을 확보해야 하고, 직접 조종사가 붙어있어야 하는 점 등이 포함돼 있어 원거리 드론 배송은 사실상 불가능한 상황이다. 아마존, 구글을 비롯해 IT 및 유통업체들이 FAA 등에 거듭 허가 요청을 하는 상황이다.
한편 영국 정부는 지난해 7월 아마존의 배송용 드론 시험 비행을 허가했다. 아마존은 교외에서 조종사 시야를 벗어난 상태의 드론을 운행하는 시험, 조종사 한 명이 여러 드론을 조종하는 시험, 드론이 장애물을 인식하고 피하게 하는 장치 시험 등을 진행했다.
이어 지난해 12월 영국 캠프리지 인근의 한 농장으로 팝콘과 리모콘 등 TV 스트리밍 장비(4.7파운드, 약 2.17㎏)를 드론에 실어 배달하는데 성공했다. 아마존은 '리처드 B'라는 이름의 고객에게 주문 13분 만에 드론으로 제품을 전달했다며 관련 영상을 공개했다. 아마존에 따르면 배송 드론은 최대 5파운드(약 2.3kg)의 제품을 실을 수 있으며, 시속 80Km로 30분 거리 내 지역까지 배달할 수 있다.
안하늘 기자 ahn708@asiae.co.kr
<ⓒ투자가를 위한 경제콘텐츠 플랫폼, 아시아경제(www.asiae.co.kr) 무단전재 배포금지>



