애플 방수 스피커·소음 절감 이어폰 특허 획득

음향기기 방수 특허 획득…아이폰 7에 적용될까스피커 내부에 우산 역할 하는 그물 삽입
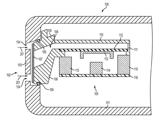
[아시아경제 한진주 기자] 애플이 방수 아이폰 스피커와 소음을 줄이는 이어버드 기술 관련 특허를 획득했다. 7일(현지시간) 애플 전문매체 맥 루머스 등에 따르면 애플이 미국 특허상표국으로부터 스피커와 이어버드 관련 특허를 승인받았다.첫번째 특허는 '음향기기 방수' 특허다. 스피커의 음향 포트에 우산 역할을 하는 특수한 그물을 덮어 보호하는 방식이다. 형태는 현재 아이폰을 덮고 있는 스피커 커버와 비슷하지만, 스피커 입구로 특수 그물을 삽입해 수분의 침투를 막는다.만약 스피커 입구쪽으로 물이 흘러들어가도 우산 역할을 하는 그물이 내부로 물이 침투하는 것을 막아준다. 만약 기기가 압력을 받고 있다면 물이 침투할 수 있지만 기기의 구조적 손상은 막아낼 수 있다.애플의 방수 기능은 아이폰 외부에 소수성(hydrophobic)을 활용한 코팅 기법을 적용하고, 그물 내부에는 친수성을 띄는 코팅을 적용해서 물을 끌어내는 방식도 포함하고 있다.올 가을 출시 예정인 아이폰 7에 방수기능이 적용되는 것으로 알려지고 있다. 다만 이번에 애플이 확보한 특허와 방수 아이폰이 정확히 맞아떨어지는 지는 확실치 않다.애플이 확보한 특허가 실제로 애플의 제품에 적용될 지는 미정이다. 다만 애플인사이더는 유사한 포트 디자인이 애플워치에 이미 적용돼있다고 설명했다.
이밖에도 애플은 '이어버드'의 소음을 절감시켜 음성 품질을 높여주는 특허도 확보했다. 이 특허는 골 전도 기술을 활용한 헤드셋에서 효과적으로 소음을 걸러내준다.이 특허는 사용자의 두개골에서 음성 진동이 퍼지는 것을 감지해내는 속도계를 활용한다. 온보드 마이크와 연결하면, 시스템이 외부 신호를 측정할 수 있고, 효과적으로 주변의 소음을 걸러낸다.한진주 기자 truepearl@asiae.co.kr<ⓒ세계를 보는 창 경제를 보는 눈, 아시아경제(www.asiae.co.kr) 무단전재 배포금지>

산업2부 한진주 기자 truepearl@asiae.co.krⓒ 경제를 보는 눈, 세계를 보는 창 아시아경제
무단전재, 복사, 배포 등을 금지합니다.

오늘의 주요 뉴스

헤드라인

많이 본 뉴스